Kicker Block 설계 Home > 설계 > Kicker Block 설계¶
-
기능
Kicker Block은 Raker를 지지하는 콘크리트 블럭으로써 경사하중을 받는 연속기초로 간주하여 안정을 검토합니다. Kicker Block의 제원과 관련조건 등을 입력하여 설계를 수행하고, Excel 포맷의 상세계산서를 출력합니다. -
제한
모델링 과정의 지보재 정의에서 Raker를 설치한 경우에만 설계를 수행할 수 있으며, 설계옵션이 정의되어야 합니다. -
호출
Main Menu :설계 > Kicker Block 설계

일반¶
이름¶
- 검토하고자 하는 Kicker Block의 이름을 입력합니다.
Raker¶
- 하나의 Kicker Block에 여러개의 Racker가 연결될 수 있습니다. 지보재의 정의에서 입력한 Raker 중 해당 Kicker Block에 연결될 Raker를 선택합니다.

제원¶
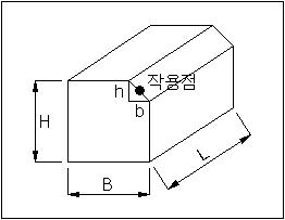
하중의 작용점¶
| - h, b가 "0"이 아닌 경우 | - h, b가 "0"인 경우 |
|---|---|
![]() |
![]() |
지층의 구성¶
- Kicker Block의 활동 및 전도에 대한 안전을 검토하기 위하여, Kicker Block에 작용하는 수평토압을 계산해야 합니다.
- 토압계산을 위하여 Kicker Block이 설치되는 지층의 물성을 입력합니다.
조건¶
H-Pile의 길이, 수평간격, 폭¶
- Kicker Block을 지지하기 위해 지반에 삽입하는 것으로, Kicker Block의 활동에 저항합니다.
Kicker Block의 활동에 대한 안정검토¶
- 기본적으로 Kicker Block의 활동에 대한 안정검토는 H-Pile을 제외하고 수행합니다. 검토된 결과가 N.G.일 경우에 H-Pile을 고려하여 재검토를 수행합니다. H-Pile은 Kicker Block에서 전단키와 같은 역할을 합니다.
극한지지력¶
-
극한지지력을 계산하기 위한 산정식에는 "제원 > 기초폭(B)"과 "지층의 구성>점착력"이 사용됩니다. 기초폭과 점착력을 수정한 경우에는
-
버튼을 클릭하여 극한지지력을 다시 계산해야 합니다.-
직접입력
-
Terzaghi 산정식

-
Meyerhof 산정식

-
극한지지력 산정에 대한 자세한 내용은 「구조물 기초설계기준 해석(2003」의 "4.3 지지력 산정" 부분을 참조하시기 바랍니다.
안전율¶
- 활동, 전도, 지지력에 대한 안전율을 사용자가 입력합니다.
설계결과¶
-
버튼을 클릭하여 활동, 전도, 지지력에 대한 안전율을 계산합니다.
-
버튼을 클릭하면, 계산과정에 대한 상세한 내용을 Excel 포맷의 계산서로 출력합니다.
최종 수정일: 2026-03-20

